Toyota Files Patents For All-Wheel Turning To Assist With Parking In Tight Spaces
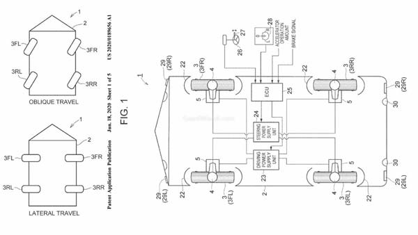
Japanese auto giant, Toyota Motor Corp., has filed patents with the United States Patent and Trademark Office for four wheel turning that will assist while parking a vehicle in tight spaces. According to GaadiWaadi, the images reveal that all four wheels can rotate in order to ensure a zero turning radius, and diagonal movement.

The images explain how each wheel moves in order to allow for a wide angle of rotation, just like how castor wheels function on any workplace chair.
Each wheel is connected to independent hub motors that are mounted inside the body of a vehicle. The images also show how turn signal indicators can be used in sync with the new movement angles.
In Toyota related news, the brand's Yaris J variant has been listed on a Government e-Marketplace, and is priced starting at Rs 9.12 lakh. The company is offering the vehicle only in white, but has said that other colour options can be availed upon request.
The Government e-Marketplace has been around since 2016, and has been created specifically for government organisations, departments, and other Public Sector Units. To know more, click here.

The brand also recently announced a resumption of business operations at its Bidadi facility, after temporarily suspending operations as a result of two employees testing positive for Covid-19.
A statement released by Toyota said that the employees were at the facility on 7 and 16 June, and that the facility has since been cleaned, sterilised and sanitised. To know more, click here.
Thoughts About The New Patents Toyota Has Filed
Toyota has always been at the forefront of researching and developing ground breaking technology that can be brought to the masses. Having tech that helps one drive sideways into a parallel parking space reduces the hassle of having to turn multiple times into a short space. Excellent work Toyota, as always.


Click it and Unblock the Notifications








